Možno
používať rôzne sústružnícke nástroje pre 4 vonkajšie otvory ako
napríklad :

Pri týchto
nadstavcov nožov možno vymieňať po opotrebovaní reznej platničky
za novú napríklad:

Možno taktiež
používať nástroje pre 4 vonkajšie otvory ako napríklad:

Veľkosť priemeru
držiaka vrtáku možno regulovať redukčným púzdrom s rôznymi
priemermi, aby sa zabezpečila súososť vnútorného otvoru na
revolveri a nástroja.

Pre náš školský
CNC sústruh používame nástroje od firmy CERATIZIT
Návrh
nástrojovej zostavy:
Rezné nástroje volíme hlavne
podľa tbaru vyrábanej súčiastky a technologického postupu.
Pretože do nástrojovej hlavy je možné upnúť iba tri sústružnícke
nože, treba vybrať nástroje s čo najväčšími pracovnými
schopnosťami. Výrobca stroja odporúča použitie nasledovných
nástrojov:
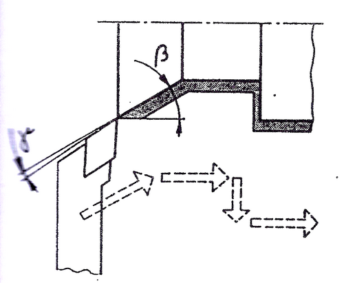
1.)Pravá stranový nôž
Pravý stranový nôž môže byť buď s
vymeniteľnou platničkou zo spekaného karbidu alebo monolitný
nástroj z rýchloreznej ocele. Uhly hrotu a nastavenia umožňujú
použiť tento nástroj na rezanie vonkajších valcových plôch,
pravých čelných plôch ako aj kužeľových plôch, ktoré nesmerujú
do hrotu noža.

Obr. č.51 (pravý stranový nôž)
Obr. č.52 (sústruženie valcových a kúžšľových plôch spravým
nožom)
Pravý stranový nôž môže vyrábať
rôzne plochy na obrobku v rozsahu, ktorý mu fyzicky dovolia
hlavné a vedľajšia rezná hrana. Nemôže rezať ľavé čelá a strmé
doľava sa zužujúce kúžele. Pri sústruženípravých čelných plôch
môže byť s ohľadom na uhol nastavenia hlavnej reznej hrany 93
stupňov maximálny prídavok a = 0,3 mm, pretože podmienky pre
prácu noža sú nepriaznivé.
Pri sústružení kužeľových vybraní
smerujúcich k vretenu a k osi obrobku pravým nožom je limitované
uhlom nastavenia vedľajšej reznej hrany 32 stupňov. Preto nôž
môže vytvárať kužeľ pod uhlom maximálne 30 stupňov. Pokiaľ je na
súčiastke uhol strmší, je nutné použiť ľavý nôž.

Obr. č.53 (sústruženie kužeľových vybraní pravým nožom)
Obr. č.54 (sústruženie kruhových oblúkov pravým nožom)
Kruhové oblúky je možné obrábať v
rozsahu väčšom ako je jeden kvadrant, je to však limitované
podobne ako pri kužeľoch reálnym hrotom nástroja.
2.) Ľavý stranový nôž
Použitie ľavého noža musí byť
vždy zdôvodnené existenciou prvkov na súčiastke, ktoré sú iným
nástrojom nevyrobiteľné. Je pri ňom treba voliť menšie prierezy
rezu, pretože rezné sily pôsobia von z upnutia, resp. do koníka.
Pracovné možnosti ľavého stranového noža vyplývajú z dole
uvedených obrázkov:

Obr. č.55 (ľavý stranový nôž)
Obr. č.56 (sústruženie valcových, kužeľových a čelných plôch
ľavým nožom)

Obr. č.57(sústruženie kúžeľových vybraní ľavým
nožom)
Obr. č.58 (sústruženie kruhových oblúkov ľavým nožom)
3.)
Neutrálny nôž
Tento nástroj má
reovnaký uhol nastavenia hlavnej a vedľajšej reznej hrany, v
našom prípade je to nôž s vymeniteľnou reznou platničkou a
uhlami nastavenia 62,5 stupňov. Z obrázkov dole vyplýva, že
tento typ noža je vhodný pre výrobu širokého rozsahu plôch, no
nemožno to byť v žiadnom prípade čelné plochy a kužele strmšie
ako 60 stupňov. Neutrálny nôž s uhlom hrotu a uhlami nastavenia
60 stupňov je možné použiť aj na rezanie metrického závitu.
Obr. č.59 (geometria neutrálneho noža)
Obr. č.60 (rezanie valcových a tvarových plôch neutrálnym nožom)
4.)
Závitorezný pravý vonkajší nástroj
Na rezanie
vonkajších metrických nástrojov je možné použiť nástroj s
vymeniteľnou platničkou zo SK alebo neutrálny nástroj z RO. Hrot
musí mať negatívny tbar profilu závitu.

Obr. č.61 (závitorezný nástroj)
Obr. č.62 (zapichovací nôž)
5.) Zapichovací nôž
Dôležitým parametrom tohto
nástroja je šírka hlavnej hrany, ktorá určuje minimálnu šírku
zápichu, ktorú sme schopní vyrobiť. S použitím zapichovacieho
cyklu je možné vyrobiť zápichy rovnakej alebo väčšej šírky
reznej hrany. Hĺbka zápichu musí byť menšia ako je vyloženie
zapichovacieho noža. Použiť možno nože s rôznymi konštrukčnými
riešeniami.
6.) Upichovací nástroj
Nôž so šírkou 3 až 5 mm (podľa
potrebnej veľkosti), vyloženie musí byť väčšie ako polomer
upichovaného obrobku.

Obr. č.63 (upichovací nôž)
Obr. č.64 (nástroj na výrobu vnútorných plôch)
7.) Vnútorný nôž
Na výrobu valcových otvorov
používame osové nástroje. Do nástrojovej hlavy daného stroja
môžeme upnúť maximálne 4 osové nástroje. Pre prípad tvarových
otvorov je nutné vrtákom vyrobiť otvor s minimálnym priemerom
tvarového otvoru a navrhnúť vnútorné nože, ktoré sú schopné
uskutočniť výrobu požadovaných vnútorných plôch.
8.) Závitorezný vnútorný
pravý nôž
Pre rezanie
vnútorného závitu je potrebné vyrobiť otvor, ktorého priemer sa
rovná malému priemeru závitu. Otvor treba obvykle vopred
pripraviť tak, aby mal závitorezný nástroj výbeh z rezu.

Obr. č.65 (nástroj na rezanie vnútorného závitu)
Zoraďovanie nástrojov
Pred prácou na
stroji je potrebné urobiť zoradenie nástrojov. S ohľadom na
veľmi jednoduchý systém automatickej výmeny, ktorý nepoužíva
jednotné držiaky, ale do nástrojovej hlavy sa vkladajú priamo
jednotlivé nože, nepoužíva sa systém zoraďovania nástrojov mimo
stroj.
Zoraďovanie
nástrojov sa robí priamo na stroji po upevnení jednotlivých
nástrojov do hlavy. Pre tento účel je na katedre v príslušenstve
Emca optický zoraďovací prístroj, pomocou ktorého môžme
zivzájomnúhodnotu hrotov nástrojov.
Žilinská univerzita v Žiline
http://www.uniza.sk/menu/inc.asp?ver=SK
Strojnícka fakulta
http://fstroj.uniza.sk/
Katedra automatizácie a
výrobných systémov
http://kavs.uniza.sk/
e-learning
http://vzdelavanie.uniza.sk/vzdelavanie/ |